红外发送管的角度特性测试

红外发送管的角度特性测试

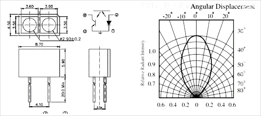
用了舵机带动红外发光二极管转动,使用光电三极管测量红外光强随着角度变化曲线。通过测试的曲线可以对比不同红外发光二极管发光强度的发散角度。外部带有透明外壳的发光二极管,前端有半球透镜具有窄的发光分布角度,比如
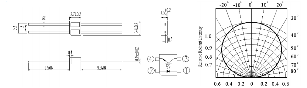
ITR9909。对于ITR8307没有透镜的发光二极管则具有更宽的发光角度。
关键词: 红外发光二极管 , 发光角度
红外发送管
目 录
Contents
红外发送管
方向特性
ITR8307
ITR9909
测量发光强度
测量方法
测量数据
测试结论
§ 01 红 外发送管
在 前面测试 以及 反射光电管特性的时候,为了能够更好地利用红外发送管测量,需要对于这样的发射管的空间特性进行测量。
一、红外发送管方向特性
根据 以及 可以查阅这两种漫反射发送红外光相对强度的分布。
1、ITR8307

▲ 图 1.1 ITR8307 相对发送光强
1、ITR9909

▲ 图 1.2 ITR9909 相对发送光强
二、测量发光强度
1、测量方法
利用
ITR9909
的光电三极管来测量红外光强。输出的电压利用
ESP32
的
ADC
进行测量。

▲ 图 1.2.1 测量电路

▲ 图 1.2.1.0.0 测量光强 ITR8307 光电三极管

▲ 图 1.2.1.0 测量实验电路板
2、测量数据
(1) 普通红外发光管

▲ 图 2.1.1.0 红外发光二极管

▲ 图 2.1.1 红外发光管发光强度随着角度变化
(2) ITR9909 红外发光管

▲ 图 2.2.1.0 ITR9909 红外发光二极管

▲ 图 2.2.1 ITR9909 发光光强随着角度变化
(3) ITR8307

▲ 图 2.3.1 ITR8307 的反射式光电管

▲ 图 2.3.2 ITR8307 红外发光二极管角度与光强之间的关系

▲ 图 2.3.3 ITR8307 红外发光二极管角度与光强之间的关系
※ 测 试结论 ※
使 用了舵机带动红外发光二极管转动,使用光电三极管测量红外光强随着角度变化曲线。通过测试的曲线可以对比不同红外发光二极管发光强度的发散角度。
外部带有透明外壳的发光二极管,前端有半球透镜具有窄的发光分布角度,比如
ITR9909
。对于
ITR8307
没有透镜的发光二极管则具有更宽的发光角度。
■ 相关文献链接:
● 相关图表链接:
